国标法兰波纹管密封直流式熔盐截止阀WJ45Y
我们坚持以客户需求为导向,以技术创新为动力,为您提供从产品选型到技术咨询的全方位服务,助力企业提升蒸汽系统能效,创造更大价值。
详情介绍
熔盐阀介绍:
熔盐阀顾名思义是一种为特定介质硝酸钠和硝酸钾开发设计的一个阀门,是以介质特性命名的阀门,由于硝酸钠和硝酸钾是一种易结晶,粘度大,介质流动性非常差的特殊介质,为适应这种介质而开发的,这种阀门无论是阀门外形,流道结构,外部环境都有特殊的要求,如阀门外形要设计成y型或角式形,以最小流阻来改善粘度大、流动性差功能,流道拐角要圆滑,不要出现直角和尖角影响介质流动和囤积,一旦工况停止运行时,管道内介质要自动排空而不是囤积在管道内产生结晶,由于硝酸钠和硝酸钾是易结晶体,为了使介质不结晶,能使硝酸钠、硝酸钾始终保持成液体状态必须要对介质加温,这种阀门通常进行电伴热加热或蒸汽伴热,由于电伴热工况比较复杂本公司设计的熔盐阀与进口的熔盐阀相比,本公司的熔盐阀只需对阀体进行电伴热,阀盖不需用电伴热,阀内温度始终保持熔盐处于液体状态,而进口熔盐阀除要阀体进行电伴热连阀盖还需要进行电伴热,增加了用户使用成本;再者由于介质的特殊性,液体熔盐腐蚀性强,对阀门的氧化泄露很严重,除了对环境造成污染外,对员工身体也有一定的损害,为杜绝泄露,熔盐阀要设计成内外泄漏为零,所以熔盐阀需要在填料密封动密封和中法兰静密封处进行独特的设计,我们设计和生产的熔盐阀对上述两处进行了波纹管密封设计和中法兰钢圈密封设计,彻底解决了阀门外漏所造成的用户担忧的问题。
Moltensaltvalveintroduction
Molten salt valve as the name suggests is a specific medium for sodium nitrate and potassium nitrate development and design of a valve, named after the characteristics of the medium, because sodium nitrate and potassium nitrate is a kind of easy crystallization, large viscosity, media fluidity is very poor special medium, in order to adapt to this medium and developed, this valve whether it is valve shape, flow structure, the external environment has special requirements, If the valve shape should be designed into y shape or corner shape, with minimum flow resistance resistance to improve the viscosity of the large poor flow function, the flow channel corner should be smooth, do not appear right angles and sharp corners affect the flow and hoarding of the medium, once the working condition stops running, the medium in the pipeline should be automatically emptied instead of hoarding in the pipeline to produce crystallization, because sodium nitrate and potassium nitrate are easy crystals, In order to make the medium does not crystallize, can make sodium nitrate, potassium nitrate always maintain a liquid state must be heated to the medium, this valve is usually electric heating or steam heating, because the electric heating condition is more complicated than the molten salt valve designed by the company compared with the imported lava valve, the company's molten salt valve only needs to carry out electric heating on the valve body, the valve cover does not need to use electric heating.
结构特点:
1.由于熔盐介质的特殊性,在阀门的选材上,即要耐高温又要耐腐蚀。
2.阀门阀座使用司太立硬质合金或者其他表面硬化材料,阀座和阀瓣用不同的硬度,较硬的材料用于阀座。
3.阀杆以及阀内件表面需进行表面硬化处理。
Structuralcharacteristics
1. Due to the particularity of molten salt medium, in the selection of valve materials, it is necessary to resist high temperature and corrosion.
2. The valve seat shall be made of Starlite carbide or other surface hardened materials, and the valve seat and disc shall be made of different hardness. The harder material shall be used for the valve seat.
3. The surface of the valve stem and valve internals should be hardened.
应用规范
1、设计、制造按API623;
2、结构长度按ASME B16.10;
3、对接端、焊接坡口尺寸按GB/T12224、ASM16.25;
4、检验与试验按GB/T26480;
5、逸散性试验按GB/T26481;
Applicationspecification
1、design, manufacturing according to API623;
2、structure length according to ASME B16.10;
3、butt end, welding groove size according to GB/T12224、 ASM16.25;
4、inspection and test according to GB/T26480;
5、According to GB/T26481 for dispersion test;
主要零件材料Materials for Main Parts
零部件名称 | 材质 Material |
阀体、阀盖 Valve body、Valve cover | CF8C、WCB、F347H、316、310、英科镍合金 |
阀杆Valve stem | F347H、INConEL 625等镍基高温高强合金 |
波纹管 Bellows | 316不锈钢、INConEL 625镍铬合金(多层) |
密封件 Sealing element | STL合金、D577合金、316不锈钢、英科镍合金等 |
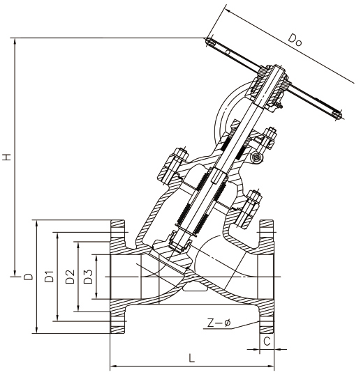
结构示意图 Structural diagram
应用规范Application specification
1.设计、制造按API623
2.结构长度按GB/T12221
3.阀门连接法兰尺寸按GB/T9124
4.阀门检验与试验按GB/T26480
5.阀门逸散性试验按GB/T26481
1. Design and manufacture according to API623
2. The structure length is GB/T12221
3. Valve connection flange size according to GB/T9124
4. Valve inspection and test according to GB/T26480
5. Valve escape test according to GB/T26481
性能规范 Performance specification
压力 Pressure 压力试验 Pressure Test(MPa) | PN16 | PN25 | PN40 |
壳体强度试验 Shell test | 2.4 | 3.75 | 6.0 |
高压密封试验 Sealing test | 1.76 | 2.75 | 4.4 |
氦质谱检漏 | 10-3 mm3/s | ||
主要外形尺寸 Main external dimension
型号Model number | 公称压力Nominal pressure | 口径(DN) Calibre | L法兰 Flange | H | D3 | D2 | D1 | D | DO | C | KV(M3/h) | 重量(kg) Weight |
WJ45Y-16C/P | PN16 | 50 | 230 | 328 | 50 | 102 | 125 | 165 | 200 | 18 | 53.6 | 17.2 |
65 | 290 | 397 | 65 | 122 | 145 | 185 | 250 | 18 | 83.8 | 32.8 | ||
80 | 310 | 429 | 76 | 138 | 160 | 200 | 280 | 20 | 124.4 | 41.6 | ||
100 | 350 | 504 | 100 | 158 | 180 | 220 | 350 | 20 | 207 | 64.7 | ||
125 | 400 | 544 | 125 | 188 | 210 | 250 | 400 | 22 | 307 | 90.6 | ||
150 | 480 | 581 | 150 | 212 | 240 | 285 | 450 | 22 | 476 | 123.7 | ||
200 | 600 | 750 | 200 | 268 | 295 | 340 | 500 | 24 | 786 | 217.8 | ||
250 | 730 | 800 | 250 | 320 | 355 | 405 | 500 | 26 | 989 | -- | ||
300 | 850 | 900 | 300 | 378 | 410 | 460 | 550 | 28 | 1424 | -- | ||
350 | 980 | 1040 | 336 | 438 | 470 | 520 | 600 | 30 | 1938 | -- | ||
400 | 1100 | 1150 | 387 | 490 | 525 | 580 | 650 | 32 | 2532 | -- | ||
WJ45Y-25C/P | PN25 | 50 | 230 | 328 | 50 | 102 | 125 | 165 | 200 | 20 | 53.6 | 17.2 |
65 | 290 | 397 | 65 | 122 | 145 | 185 | 250 | 22 | 83.8 | 32.8 | ||
80 | 310 | 429 | 76 | 138 | 160 | 200 | 280 | 24 | 124.4 | 41.6 | ||
100 | 350 | 504 | 100 | 162 | 190 | 220 | 350 | 24 | 207 | 64.7 | ||
125 | 400 | 544 | 125 | 188 | 220 | 250 | 400 | 26 | 307 | 90.6 | ||
150 | 480 | 581 | 150 | 218 | 250 | 285 | 450 | 28 | 476 | 123.7 | ||
200 | 600 | 750 | 200 | 278 | 310 | 340 | 500 | 30 | 786 | 217.8 | ||
250 | 730 | 800 | 250 | 335 | 370 | 425 | 500 | 32 | 989 | -- | ||
300 | 850 | 900 | 300 | 395 | 430 | 485 | 550 | 34 | 1424 | -- | ||
350 | 980 | 1040 | 336 | 450 | 490 | 555 | 600 | 38 | 1938 | -- | ||
400 | 1100 | 1150 | 387 | 505 | 550 | 620 | 650 | 40 | 2532 | -- | ||
WJ45Y-40C/P | PN40 | 50 | 230 | 328 | 50 | 102 | 125 | 165 | 200 | 20 | 53.6 | 17.2 |
65 | 290 | 397 | 65 | 122 | 145 | 185 | 250 | 22 | 83.8 | 32.8 | ||
80 | 310 | 429 | 76 | 138 | 160 | 200 | 280 | 24 | 124.4 | 41.6 | ||
100 | 350 | 504 | 100 | 162 | 190 | 235 | 350 | 24 | 207 | 64.7 | ||
125 | 400 | 544 | 125 | 188 | 220 | 270 | 400 | 26 | 307 | 90.6 | ||
150 | 480 | 581 | 150 | 218 | 250 | 300 | 450 | 28 | 476 | 123.7 | ||
200 | 600 | 750 | 200 | 285 | 320 | 375 | 500 | 34 | 786 | 217.8 | ||
250 | 730 | 800 | 250 | 345 | 385 | 450 | 500 | 38 | 989 | -- | ||
300 | 850 | 900 | 300 | 410 | 450 | 515 | 550 | 42 | 1424 | -- | ||
350 | 980 | 1040 | 336 | 465 | 510 | 580 | 600 | 46 | 1938 | -- | ||
400 | 1100 | 1150 | 387 | 535 | 585 | 660 | 650 | 50 | 2532 | -- |