气动凝结水回收泵-SP5T
我们坚持以客户需求为导向,以技术创新为动力,为您提供从产品选型到技术咨询的全方位服务,助力企业提升蒸汽系统能效,创造更大价值。
详情介绍
气动凝结水回收泵 PNEUMATIC CONDENSATE RECOVERY PUMP


基本知识
WDV20凝结水自动泵属于一种压力控制泵,主要设计用于不使用电力来泵送冷凝水或其它流体的场合。与传统的电力输液泵相比,冷凝水控制泵特别适用于“困难”介质的输送,如高温冷凝水或腐蚀性流体。压力操作的泵,特别是冷凝水自动泵被公认为是长寿合,很少维修的泵。这种泵由于没有旋转的密封结构,没有电动机和泵叶轮,通常使用寿命是传统电动泵的五到十倍,同时省去了大量的一般性维修。
1、把高温凝结水送回锅炉,节省锅炉给水化学处理剂,减少锅炉给水再加热的费用。
2、不需要电气维修。
3、可安全用于危险的或爆炸性的环境。
4、根据不同的型号,可以用5到250psig(1.72MPa)表压力的蒸汽,压缩空气或其他气体操作控制。
5、疏液量最大可达48,000磅/小时(22,000千克/小时)。
Basic knowledge
WDV20 condensate water automatic pump belongs to a sort of pressure control pump,designed for the occasion where condensate water and other fluid are pumped through the way beyond electric power.Compared with conventional infusion pump,condensate water control pump is very suitable for transmission of "Difficult"medium,such as high temperature condensate water or corrosive fluid.Pressure controlled pump,particular in condensate water automatic pump,are recognized as long-life pump with seldom maintenance needed.The pump is five to ten times the life of traditional ones due to its absence of electromotor, pump impeller and rotary seal structure,at the same time,general maintenance of it will be saved dramatically.
1、It's necessary to return high-temp condensate water into boiler,in order to save boiler water supply and chemical treating agent,and reduce boiler water supply and the cost of reheating.
2、No need to carry out electrical maintenance.
3、It could be used safely in dangerous and explosive environment.
4、It may be used in gauge pressure with capacity from 5 to 250 Psig(1.72MPa)according to different types,and compressed air or other air operation and control.
5、Lyophobe may reach maximum volume of 48,000 pounds/hour(22,000Kg/hr)
运行
冷凝水自动泵靠蒸汽或压缩气体排出液体。浮球连到连杆和弹簧上,同时驱动进气阀和排气阀。充液循环中,进气阀关闭,同时排气阀打开,使冷凝水充入泵体内。当浮球随液位升高到其行程的顶点时,开关控制机构释放弹簧,打开进气阀,关闭排气阀。蒸汽或压缩气体流入泵内,排出液体。装在泵进口和出口的逆止阀,使液体在对应的道路方向上流动。
Operation
Condensate water automatic pump discharges liquid by depending on steam or compressed air.Float ball will be linked to connecting rod and spring,simultaneously,drive intake valve and exhaust valve.The intake value will shut down during circulation of liquid charging,at the same time,exhaust valve will open,enabling condensate water into the pump.As the float ball rise with the liquid up to the peak of its journey,the switch control system will set spring free and open intake valve,as well as close exhaust valve.Steam and compressed air subsequently flow into pump and discharge liquid.The check valve that fixed at intake of exhaust of pump will drive the liquid flowing in opposite path.
特性
疏液能力取决于几个参数。应注意的是冷凝水自动泵排出的是间断液流,总排液量取决于循环的快慢。驱动压力的大小和流动路线上的阻力是排水能力的明显成因和限制因素。其次是逆止阀的CV值、充入液体的压力或压头、排气管路的阻力以及驱动气体的特性。
自动泵没有“真空”侧,只有入口侧。重要的是要懂得冷凝水自动泵这种类型的泵不会抽入或吸入流体。介质必须借助重力流入泵内。压力或压头越高,入口逆止阀的CV值越大,其次是排气阀的CV值越大,则循环的充液阶段完成的越快。完成充液阶段后,控制机构将关闭排气阀打开进气阀。这时蒸汽或压蒸汽或缩气体会排出泵体内的液体。影响循环排液阶段速度的因素包括驱动蒸汽或气体的压力、出口逆止阀的CV值、下游的背压,可能还有流动介质和周围环境的温度(如果蒸汽用作驱动气体的话)。这最后一个因素经常被忽略,但事实是,蒸汽会被冷凝,从而减少实际的驱动压力,在某些应用场合,这一现象还很严重。
Characteristic
Lyophobe capacity is determined by several parameters.The thing to be noticed is the fact that it's discontinuous liquid that condensate water automatic pump released is,the amount of liquid discharging should rest with the speed of circulation.The size of driving pressure and resistance of flowing path are distinct elements and limiting factors,Secondly,it should be attributable to some factors,such as CV value of check valve,the pressure or head of charging liquid,resistance of exhaust pipe,and characteristic of driving gas.
Automatic pump only has entrance side,and no"Vacuum"side.The key issue is that we shoule be conscious of the fact that such automatic pump in this kind could not pump and suck fluid inside.Medium should flow into the pump in virtue of gravity.The more pressure or hesd is,more bigger the CV value of check valve is,secondly,more bigger the CV value of exhaust valve is,the more faster the pace of completion of side circulation will be.Upon completion of liquid charging,control system will shun down exhaust valve and open intake valve.At the moment,steam and compressed gas will expel the liquid from pump.There are some factors influencing velocity of cicle discharging of liquid,including driving the pressure of steam or air,CV value of check valve of exit back valve,downstream back pressure,along with possibility of flowing medium and temperature of surroundings(In case of taking steam as driving air),The last factor is often ignored,but the fact is that steam will be condensed,therefore,reduce actual driving pressure,such phenomenon could be very serious on some applications.

基本原理
冷凝水控制泵属于一种压力控制泵,主要设计用于不适用电力来泵送冷凝水或其他流体的场合。与传统的电力疏液泵相比,冷凝水控制泵特别适用“困难”介质的疏液,如高温冷凝水或腐蚀性流体。压力操作的泵,特别是冷凝水控制泵被公认为是长寿命,很少维修的泵。这种泵由于没有旋转的密封结构,没有电动机和泵叶轮,通常使用寿命是传统电动泵的五到十倍,同时省去了大部分一般性维修。
1、把高温凝结水送回锅炉,节省锅炉给水化学处理剂,减少制造材料锅炉给水再加热的费用。
2、泵不需要电气维修。
3、泵可安全用于危险的或爆炸性的环境。
4、根据不同的型号,可以用0.5到1.6Mpa表压力的蒸汽、压缩空气或其他气体操作控制。
5、疏液量最大可达22,000Kg/h。
冷凝水控制泵靠蒸汽或压缩气体排出液体。浮球联到连杆上和弹簧上,同时驱动进汽阀和排气阀。在充液循环中,进汽阀关闭,同时排气阀打开,使冷凝水充入泵体内。当浮球随液位升高到其行程的顶点时,开关控制机构放开弹簧,打开进汽阀,关闭排气阀。蒸汽或压缩气体流入泵内,排出液体。装在泵进口和出口的逆止阀,使液体在逆止阀的通路方向上流动。
Basic principle
The condensate control pump belongs to a pressure control pump and is mainly designed for situations where electricity is not applied to pump condensate or other fluids. Compared with the traditional water pump, the condensate control pump is especially suitable for the "difficult" medium, such as high temperature condensate water or corrosive fluid. Pressure operated pumps, especially condensate control pumps, are recognized as long - lived, rarely - maintained pumps. Because the pump has no rotary seal structure, no motor and pump impeller, the service life is usually five to ten times of the traditional electric pump, and at the same time, most of the general maintenance is omitted.
1, the high temperature condensate is sent back to the boiler, the chemical treatment agent of boiler water supply is saved, and the cost of reheating the feed water of the manufacturing material boiler is reduced.
2, the pump does not need electrical maintenance.
3, the pump can be safely used in dangerous or explosive environments.
4. According to the different models, the steam, compressed air or other gas can be controlled by the pressure of 0.5 to 1.6Mpa.
5. The maximum amount of water thinning up to 22000Kg/h.
The condensate control pump is discharged from the steam or compressed gas. The floating ball is connected to the connecting rod and the spring, and the intake valve and the exhaust valve are also driven. In the liquid filling cycle, the intake valve is closed and the exhaust valve opens, so that the condensate is filled into the pump body. When the floating ball rises with the level of the liquid level to the point of its stroke, the switch control mechanism opens the spring, opens the intake valve, and closes the exhaust valve. Steam or compressed gas flow into the pump and discharge the liquid. A reverse check valve is installed at the inlet and outlet of the pump to make the liquid flow in the direction of the reverse check valve.
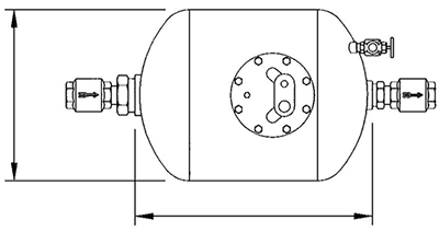
外形尺寸 Shape size
接口 Interface | 外形尺寸Shape size(mm) | 重量kg | |||||
A | B | C | D | E | F | ||
1”* 1” | 879 | 140 | 152 | 641 | 457 | 635 | 79 |
1-1/2”* 1-1/2” | 933 | 140 | 152 | 641 | 457 | 635 | 81 |
2”* 2” | 943 | 140 | 152 | 641 | 457 | 635 | 83 |
3”* 2” | 971 | 140 | 152 | 641 | 457 | 635 | 86 |


安装及启动操作
安装
1、凝结水控制泵的安装位置应保证其上游所有需排入该泵的凝结水均能顺利排入,建议进水压头为12”(305mm)并能够正确引入操作蒸汽或压缩空气。
2、在引入操作蒸汽时,其管路接口必须设在操作蒸汽主管道的上方,严禁设在主管道下方,以免主管道内的水、杂质等进入操作汽管路。
3、若凝结水控制泵用来回收多个疏水点排出的凝结水,考虑到不同疏水点排出的凝结水存在不同的余压,为防止不同疏水点间的相互干扰,建议在凝结水控制泵前安装集水罐,集水罐的尺寸确定见表。
4、凝结水控制泵的进出水口必须装有止回阀,以保证凝结水控制泵的正常运行。建议使用我公司提供的止回阀,以保证泵的排水量。
5、开式系统凝结水控制泵的安装建议见图。
6、凝结水控制泵需就位在承载能力大于其满罐时的总重量的地基上。地基表面需平整、干净。
7、在将凝结水进出管及操作气管接入凝结水控制泵之前必须将系统的管路吹扫干净,以免系统内的污物(如焊渣、铁锈等)进入凝结水控制泵,损坏泵体上的部件,影响泵的正常工作。
Installation and start operation
install
1, the installation location of condensate control pump should ensure that all upstream condensate discharged into the pump can be discharged smoothly, and the recommended inlet pressure head is 12 "(305mm), which can correctly introduce operation steam or compressed air.
2, in the operation of steam, above the pipeline interface must be located in the operation of a steam main pipe, is prohibited under the main pipe is arranged on the main pipeline, to avoid water and impurities into the operation of the steam pipe.
3, if the condensate pump control is used to recover the more hydrophobic point discharge condensate, taking into account the different hydrophobic point exhaust condensation water have different residual pressure, to prevent the mutual interference
between different hydrophobic, suggested in the condensed water control pump installed before the water collecting tank, collecting tank size is opinion table.
4. The check valve must be installed in the inlet and outlet of the condensate control pump to ensure the normal operation of the condensate control pump. It is suggested that the check valve provided by our company should be used to ensure the drainage of the pump.
5. The installation of the condensate control pump for the open system is shown in the diagram.
6, the total weight of the water pump to control the setting in place carrying capacity is greater than the full of the ground. The surface of the foundation should be smooth and clean.
7, before condensing water enters and enters the condensate control pump, the pipeline of the system must be swept away, so as to avoid contaminants in the system, such as welding slag and rust, and enter the condensate control pump, which will damage the components of the pump body and affect the normal operation of the pump.
启 动
检查确定所有联接处都连接紧密后,开始试运行。
1.对于蒸汽操作场合,打开进汽口侧的疏水管线阀,将管内凝结水排空直至蒸汽出来后关闭该阀。
2.打开出水口阀及排汽口阀。
3.缓慢打开凝结水入口阀,向泵内充水,直至听到较为平缓的充水声后,将入口阀完全开启。
Start-up
Check and determine that all joints are connected tightly and start to run.
1. for steam operation occasions, drain pipeline valve to open the steam inlet side, the condensed water pipe emptying out after the valve is closed until the steam.
2. open the outlet valve and exhaust valve.
3. slowly open the condensate inlet valve, fill the pump with water until the more gentle sound of water filling, the entrance valve is completely opened.
常见故障排除Common troubleshooting
问题分析problem analysis | 排除方法Elimination method | |
1. 结水在某水罐内积存,进不了泵内。 water is accumulated in a water tank and can not enter the pump. | a.进水阀未开water inlet valve closed b.排气阀未开exhaust valve closed c.罐内已充满水can be filled with water d.进口止回阀未开inlet check valve open | a.打开进水阀Open the inlet valve b.打开排汽阀Open exhaust valve c.检查操作汽是否通入泵内,步骤同故障现象2的方法Check whether the operating steam is put into the pump, the method is the same as the failure phenomenon 2. |
2.凝结水泵不排水Undrained condensate pump | a.操作汽未进到泵内Operating steam not into the pump b.出口止回阀未打开Exit check valve unopened c.泵内浮球机构未动作Floating ball mechanism in pump
| a.检查动力汽是否供到泵处,检查泵的进汽口是否被污物堵塞Check whether the power steam is supplied to the pump and check whether the inlet of the pump is blocked by dirt b.打开泵盖,看浮球是否上下动作自如,并将进、排汽阀切换打开,关闭,排除动作阻碍因素Open the lid of the pump to see if the floating ball moves freely and up and down, and switches the inlet and exhaust valves to open, close, and exclude the impediments of the movement. c.将出口口止回阀打开,察看其动作情况,去除污等,使其动作无障碍Open the exit check valve, look at its action, remove pollution and so on, so that the action is no obstacle. |