管线球阀 QW(3、6、9)61F
我们坚持以客户需求为导向,以技术创新为动力,为您提供从产品选型到技术咨询的全方位服务,助力企业提升蒸汽系统能效,创造更大价值。
详情介绍
管线球阀 Pipeline ball valve
1、防静电结构
当操作阀门,由于球体和阀座之间的摩擦,会产生静电并积聚在球体上,为防止产生静电火花,特在阀门上设置防静电装置,将积聚在球体上的电荷导出。
1、Antistatic structure
When operating the valve,due to the friction between ball and seat,will generate static electricity and accumulate on the sphere,to prevent electrostatic spark producting,set in the valve antistatic device, accumulate in the sphere of charge is derived.
2、防火结构
在意外发生火灾或异常升温使非金属阀座软化烧损时,特殊设计的阀座支撑金属密封面在弹簧载荷的作用下,与球体形成金属与金属接触,能够起到瞬时密封作用。
2、The structure of the fire
In accidental fire or burning of the abnormal heat up to soften the non-metallic seat,a specially designed valve seat sealing surface under the action of the spring load bearing metal,and sphere form metal to metal contact,can rise the instantaneous sealing function.
3、辅助密封结构
阀座及阀杆密封件出现损伤而引起泄漏时,可通过注脂阀注入密封脂,起到暂时密封作用。
3、Auxiliary seal structure
Valve seat and valve stem seal damage caused by the leakage,can pass on the valve sealing grease injection,temporary sealing effect.
4、双阻塞与双排放(DBB)结构
固定球阀处于全关闭状态时,上下游的阀座使流体完全阻断,阀体中腔的积滞物可以通过排泄装置进行排泄,减少污物对阀门密封面的损伤,延长 阀门使用寿命。
4、Double block and double emission(DDB)structure
Fixed ball valve is fully closed,the valve on the lower reaches of the valve seat so that the fluid is completely blocked,the valve body in the cavity of the product can beexcreted through the drainage device to reduce the dirt on the valve sealing surface damage,extend the serivice life of the valve.
5、阀门开、关位置指示
在蜗轮箱上端面,设有开、关位置指示器,在手轮顺时针转动时,阀门处于关闭位置;当手轮逆时针转动时,阀门处于开启位置。
5、Valves open and close position indicator
End face on the worm gear box,equipped with open and closed position indicator,when the handwheel clockwise,the valve is in closed position;When the handwheel anti-clockwise rotation,the valve is in open position.
6、上游密封双向阀
固定球阀采用先进的弹簧预紧浮动阀座组件上游密封的设计原理,无论阀门在低压、高压、真空下都能良好地实现密封。每只阀门有两个阀座,两个方向都能密封,因而安装没有方向限制,无论阀门的哪端均可作为上游端是双向阀。
6、Upstream sealing two-way valve
Fixed ball valve with advanced spring pre-tight upstream of the valve seat assembly design principle,regardiess of the valve in the low prewwure,high pressure,vacuumcan be a good way to achieve sealing.Each valve has two valve seats,two directions can be sealed.so the installation has no direction,regardless of which side of the valve can be used as a two-way valve.
7、全通径或缩径结构
可根据需要选用全通径或缩径结构。全通径球阀的通道内 与管线内径一致。不但流体阻力最小,也便于管道清扫,而缩径球阀的流体阻力比相同口径的截止阀要低很多,介质阻力比 相同口径的截止阀要低很多,重量比相同口径的球阀要轻30% 左右,有效的降低了生产成本及价格,因而逐步得到了较广泛 的使用 。
7、Full size of reduced diameter structure
Can be selected according to the full size of reducing structure.Full bore ball valve in the channel is consistent with the inner diameter of pipeline.Not only the fluid
resistance is minimal,but also easy to pipe cleaning,and reducing valve of the same diameter of fluid resistance than the same diameter of the valve to be much lower than the same diameter of the same diameter of the cut-off valve to lower a lot of
weight ratio of the same diameter of the valve to light around 30%,effectively reduce the production of the price,and thus gradually get a wider use.
8、操作灵活
采用具有小摩擦系数和良好润滑性的阀杆轴承,大大地减 少了阀门的操作扭矩,因此即使在没有提供密封润滑脂的情况下,也能够长期灵活自如地对阀门进行操作。
8、Flexible operation
With stem bearing small friction coefficient and good lubricity,greatly reduced the valve operating torque,so even in the case of does not provide a tight seal grease,is also a long-term mobility to operate the valve.
9、多种操作方式
操作方式根据需要可选择手动、气动、电动、气液联动、液动等。
9、All kinds of operating modes
Operation mode according to the need to choose manual,pneumatic,electric,gas-liquid linkage,hydraulic,etc
10、防止误操作结构
对安装在野外或防止非工作人的错误操作,以及在有些振动较大的场合手柄受到撞击产生误动作。在阀门的全开或全关位置设有锁定孔,用以需要时加锁。起到安全保险作用。
10、To prevent wrong operation structure
To install in the wild or prevent non-working people mistake operation,as well as in some larger vibration occasions handle hit to produce false action.In the position of the valve fully open or close a locking hole,used to lock when necessary.Have insurance effect.
11、低温结构
低温球阀采用长颈结构设计,防止低温工况下阀杆填料密封的失效,同时阀座采用自动泄结构设计,防止房门中腔介 质由于升温而出现的异常升压,确保阀门的使用安全。
11、Low temperature structure
Low temperature valve with long neck structure design,prevent failure under low temperature valve with long neck structure design,prevent failure under low temp- erature conditions and the valve stemseal,valve seat with automatic relief structure design,prevent the abnormal pressure valve in the cavity medium due to heating,toensure the safe use of the valve.
12、埋地式加长杆结构
根据用户的需求,球阀可设计成阀杆加长结构,适用于管线埋地铺设安装的场所。
12、Buried type extension rod structure
According th the needs of users,ball valve can be designed into stem extension structure,suitable for buried pipelines laid the place of installation.
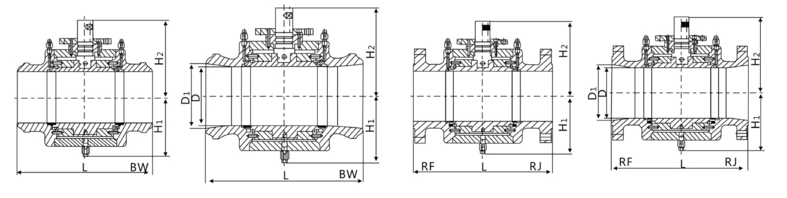
Class 150 PN1.6MPa PN2.0MPa
DN | NPS | L | D | D1 | H1 | H2 | 重量Weight(Kg) | |||
RF | BW | RJ | RF | BW | ||||||
100 | 4 | 229 | 305 | 241 | 102 | / | 235 | 135 | 51 | 44 |
150×100 | 6×4 | 394 | 457 | 406 | 102 | 152 | 235 | 135 | 76 | 68 |
150 | 6 | 394 | 457 | 406 | 152 | / | 263 | 185 | 93 | 105 |
200×150 | 8×6 | 457 | 521 | 470 | 152 | 203 | 263 | 185 | 154 | 130 |
200 | 8 | 457 | 521 | 470 | 203 | / | 325 | 215 | 192 | 202 |
250×200 | 10×8 | 533 | 559 | 546 | 203 | 254 | 325 | 215 | 293 | 240 |
250 | 10 | 553 | 559 | 546 | 254 | / | 376 | 243 | 322 | 296 |
300×250 | 12×10 | 610 | 635 | 622 | 254 | 305 | 376 | 243 | 433 | 384 |
300 | 12 | 610 | 636 | 622 | 305 | / | 428 | 316 | 548 | 497 |
350×300 | 14×12 | 686 | 762 | 699 | 305 | 377 | 428 | 316 | 582 | 527 |
350 | 14 | 686 | 762 | 699 | 337 | / | 457 | 330 | 604 | 559 |
400×350 | 16×14 | 762 | 838 | 775 | 337 | 387 | 457 | 330 | 657 | 604 |
400 | 16 | 762 | 838 | 775 | 387 | / | 565 | 360 | 749 | 704 |
450×400 | 18×16 | 864 | 914 | 876 | 387 | 438 | 568 | 362 | 773 | 686 |
450 | 18 | 864 | 914 | 876 | 438 | / | 538 | 363 | 1056 | 997 |
500×450 | 20×18 | 914 | 991 | 927 | 438 | 489 | 538 | 362 | 1095 | 1042 |
500 | 20 | 914 | 991 | 927 | 489 | / | 559 | 458 | 1503 | 1254 |
550×500 | 22×20 | 991 | 1092 | 1062 | 489 | 540 | 559 | 458 | 1568 | 1385 |
550 | 22 | 991 | 1092 | 1062 | 540 | / | 578 | 525 | 1756 | 1590 |
600×550 | 24×22 | 1067 | 1143 | 1080 | 540 | 591 | 578 | 525 | 1954 | 1658 |
600 | 24 | 1067 | 1143 | 1080 | 591 | / | 683 | 565 | 2097 | 1935 |
650×600 | 26×24 | 1143 | 1245 | 1168 | 591 | 635 | 683 | 565 | 2442 | 2315 |
650 | 26 | 1143 | 1245 | 1168 | 635 | / | 695 | 585 | 2908 | 2545 |
700×650 | 28×26 | 1295 | 1397 | 1270 | 635 | 736 | 695 | 585 | 3196 | 2768 |
700 | 28 | 1245 | 1346 | 1270 | 686 | / | 743 | 646 | 3262 | 2945 |
750×700 | 30×28 | 1295 | 1397 | 1321 | 686 | 736 | 743 | 646 | 4038 | 3446 |
750 | 30 | 1295 | 1397 | 1321 | 736 | / | 782 | 675 | 4305 | 3994 |
800×750 | 32×30 | 1372 | 1524 | 1400 | 736 | 781 | 782 | 675 | 4358 | 3855 |
800 | 32 | 1372 | 1524 | 1400 | 781 | / | 928 | 210 | 4392 | 4025 |
850 | 34 | 1473 | 1626 | 1502 | 832 | / | 946 | 738 | 6127 | 5448 |
900×850 | 36×34 | 1524 | 1727 | 1552 | 832 | 876 | 946 | 738 | 6352 | 5676 |
900 | 36 | 1524 | 1727 | 1552 | 876 | / | 982 | 776 | 6875 | 6576 |
1000 | 40 | 1753 | 1956 | / | 978 | / | 1069 | 885 | 7014 | 6805 |
1050×900 | 42×40 | 1855 | 2083 | / | 876 | 1022 | 988 | 884 | 7235 | 7000 |
1050 | 42 | 1855 | 2083 | / | 1022 | / | 1097 | 926 | 7628 | 7239 |
1200 | 48 | 2134 | 2388 | / | 1168 | / | 1227 | 990 | 8257 | 7925 |
Class 300 PN2.5MPa PN2.0MPa
DN | NPS | L | D | D1 | H1 | H2 | 重量Weight(Kg) | |||
RF | BW | RJ | RF | BW | ||||||
100 | 4 | 305 | 305 | 321 | 102 | / | 235 | 135 | 58 | 46 |
150×100 | 6×4 | 403 | 403 | 419 | 102 | 152 | 235 | 135 | 85 | 72 |
150 | 6 | 403 | 403 | 419 | 152 | / | 263 | 185 | 125 | 112 |
200×150 | 8×6 | 502 | 521 | 518 | 152 | 203 | 263 | 185 | 169 | 138 |
200 | 8 | 502 | 521 | 518 | 203 | / | 325 | 215 | 210 | 215 |
250×200 | 10×8 | 568 | 559 | 584 | 203 | 254 | 325 | 215 | 286 | 243 |
250 | 10 | 568 | 559 | 584 | 254 | / | 376 | 243 | 346 | 297 |
300×250 | 12×10 | 648 | 635 | 664 | 254 | 305 | 376 | 243 | 478 | 385 |
300 | 12 | 648 | 635 | 664 | 305 | / | 428 | 316 | 586 | 490 |
350×300 | 14×12 | 762 | 762 | 778 | 305 | 377 | 428 | 316 | 585 | 527 |
350 | 14 | 762 | 762 | 778 | 337 | / | 457 | 330 | 629 | 553 |
400×350 | 16×14 | 638 | 838 | 854 | 337 | 387 | 457 | 330 | 747 | 615 |
400 | 16 | 838 | 838 | 854 | 387 | / | 565 | 360 | 785 | 713 |
450×400 | 18×16 | 914 | 914 | 930 | 387 | 438 | 568 | 362 | 920 | 783 |
450 | 18 | 914 | 914 | 930 | 438 | / | 538 | 362 | 1265 | 990 |
500×450 | 20×18 | 991 | 991 | 1010 | 438 | 489 | 538 | 362 | 1437 | 1058 |
500 | 20 | 991 | 991 | 1010 | 489 | / | 559 | 458 | 1546 | 1253 |
550×500 | 22×20 | 1092 | 1092 | 1114 | 489 | 540 | 559 | 458 | 1546 | 1387 |
550 | 22 | 1092 | 1092 | 1114 | 540 | / | 578 | 525 | 1830 | 1593 |
600×550 | 24×22 | 1143 | 1143 | 1165 | 540 | 591 | 578 | 575 | 2042 | 1660 |
600 | 24 | 1143 | 1143 | 1165 | 591 | / | 683 | 566 | 2443 | 1934 |
650×600 | 26×24 | 1245 | 1245 | 1220 | 591 | 635 | 683 | 565 | 2618 | 2319 |
650 | 26 | 1245 | 1245 | 1270 | 635 | / | 695 | 585 | 3015 | 2544 |
700×650 | 28×26 | 1397 | 1397 | 1372 | 635 | 236 | 685 | 585 | 3291 | 2768 |
700 | 28 | 1346 | 1346 | 1372 | 686 | / | 743 | 646 | 3514 | 2958 |
750×700 | 30×28 | 1397 | 1397 | 1422 | 686 | 736 | 743 | 646 | 4138 | 3457 |
750 | 30 | 1397 | 1397 | 1422 | 736 | / | 782 | 675 | 4538 | 3998 |
800×750 | 32×30 | 1524 | 1524 | 1553 | 781 | / | 928 | 710 | 4907 | 4325 |
800 | 32 | 1524 | 1524 | 1553 | 781 | / | 928 | 710 | 4907 | 4325 |
850 | 34 | 1626 | 1626 | 1654 | 832 | / | 946 | 738 | 6658 | 5446 |
900×850 | 36×34 | 1727 | 1727 | 1756 | 832 | 876 | 946 | 738 | 6965 | 5893 |
QW(3、6、9)61F-150~1500Lb C、P、R、I、V
ANSI Class 150/Class300
CLASS | DN | d | L | H | W |
150Lb 300Lb | 2 | 2 | 8.5 | 7.08 | 78.78 |
3 | 3 | 11.125 | 7.87 | 15.75 | |
4 | 4 | 12 | 8.86 | 19.69 | |
6 | 6 | 18 | 11.22 | ||
8 | 8 | 20.5 | 12.4 | ||
10 | 10 | 22 | 12.99 | ||
12 | 12 | 25 | 16.93 | ||
14 | 13.25 | 30 | 18.3 | ||
16 | 15.25 | 33 | 19.49 | ||
18 | 17.25 | 36 | 23.03 | ||
20 | 19.25 | 39 | 24.01 | ||
24 | 23.25 | 45 | 25 |
PN20/50
CLASS | DN | d | L | H | W |
2.0MPa | 50 | 50 | 216 | 180 | 350 |
80 | 76.2 | 283 | 200 | 400 | |
100 | 101.6 | 305 | 225 | 500 | |
150 | 152 | 457 | 285 | ||
200 | 203 | 521 | 315 | ||
250 | 254 | 559 | 330 | ||
300 | 305 | 635 | 430 | ||
350 | 337 | 762 | 465 | ||
400 | 387 | 838 | 495 | ||
450 | 438 | 914 | 585 | ||
500 | 489 | 991 | 610 | ||
600 | 591 | 1143 | 635 |
Class600
CLASS | DN | d | L | H | W |
600Lb | 2 | 2 | 11.5 | 7.08 | 23.62 |
3 | 3 | 14 | 7.87 | 39.37 | |
4 | 4 | 17 | 8.86 | 59.05 | |
6 | 6 | 22 | 11.22 | ||
8 | 8 | 26 | 12.4 | ||
10 | 10 | 31 | 12.99 | ||
12 | 12 | 33 | 16.93 | ||
14 | 13.25 | 35 | 18.3 | ||
16 | 15.25 | 39 | 19.49 | ||
18 | 17.25 | 43 | 23.03 | ||
20 | 19.25 | 47 | 24.01 | ||
24 | 23.25 | 55 | 25 |
PN100
CLASS | DN | d | L | H | W |
10.0MPa | 50 | 50 | 216 | 180 | 600 |
80 | 76.2 | 355.6 | 200 | 1000 | |
100 | 101.6 | 431.8 | 225 | 1500 | |
150 | 152 | 558 | 285 | ||
200 | 203 | 660.4 | 315 | ||
250 | 254 | 787.4 | 330 | ||
300 | 305 | 838.2 | 430 | ||
350 | 337 | 889 | 465 | ||
400 | 387 | 990.6 | 495 | ||
450 | 438 | 1092.2 | 585 | ||
500 | 489 | 1193.8 | 610 |
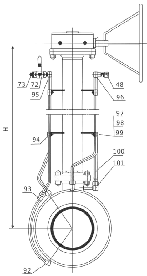
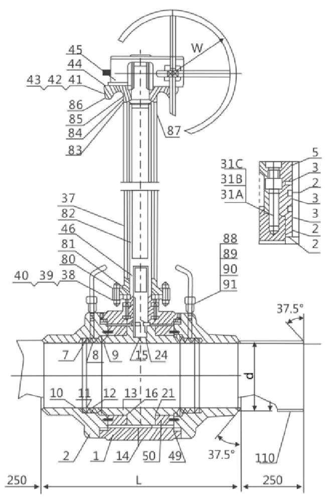
结构图Structure diagram
