高中压法兰闸阀 Z41W/H/Y
我们坚持以客户需求为导向,以技术创新为动力,为您提供从产品选型到技术咨询的全方位服务,助力企业提升蒸汽系统能效,创造更大价值。
详情介绍
高中压法兰闸阀 HIGH PRESSURE FLANGE GATE VALVE
结构优势与特点Structural advantages and characteristics
1、符合国内外先进标准的要求,密封可靠,性能优良,造型美观。
2、闸板、阀座密封面用铁基合金堆焊或司太立(stellite)钴基硬质合金堆焊而成,耐磨、耐高温、耐腐蚀、抗擦伤性能好、使用寿命长。
3、采用楔式弹性闸板结构,中大口径设置滚动轴承,开关灵活,启闭轻松。
4、阀杆经调质及表面氮化处理,有良好的抗腐蚀性,抗擦伤性和耐磨性。
5、可采用各种配管法兰标准及法兰密封面型式,满足各种工程需要及用户要求。
6、阀体材料品种齐全,填料、垫片可根据实际工况或用户要求合理选配,能适用于各种压力、温度及介质工况。
1、Meets the domestic and foreign advanced standard requirement,the seal is reliable,the performance is fine,handsome appearance.
2、The damper plate,the valve seat packing surface is too vertical (stellite)with the iron-base alloy built-up welding or the department the cobalt base hard alloy built-up welding to become,wear-resisting,thermostable,anti-corrosive,the anti-abrasion performance is good,the service life is long
3、Using wedge-type flexible gate structure,medium and large caliber set bearings,switches flexible,open and close easily.
4、Stem quenched and the nitrogen treatment,with good corrosion resistance,scratch resistance and wear resistance.
5、Can be used with a variety of standard pipe flanges and flange sealing surface types to meet various project needs and user requirements.
6、Valve body materials,variety,packing,gasket can be based on actual working conditions or the user requests a reasonable option,can be applied to all kinds of pressure,temperature and medium conditions.
标准与规范Standards and norms
设计与制造 | 结构长度 | 压力-温度等级 | 连接法兰 | 试验与检验 |
GB12234 | GB12221 | GB/T12224 | JB/T 79.1-2-94 GB9113-2009 | JB/T 9092-1999 |
性能参数Performance parameter
序号 | 项目名称 | 项目名称 | |||||
PN16 | PN25 | PN40 | PN64 | PN100 | PN160 | ||
1 | 公称压力PN(MPa) | 1.6 | 2.5 | 4.0 | 6.4 | 10 | 16 |
2 | 壳体强度试验压力 | 常温下公称压力的1.5倍 | |||||
3 | 高压密封试验压力 | 常温下公称压力的1.1倍 | |||||
4 | 常温下工作压力Operating pressure | 按GB/T 12224压力温度额定值 | |||||
主要零件材料Main components material
名称Name | 材料Material | ||||||||
阀体/阀盖Body/Bonnet | CF8 | CF3 | CF8M | CF3M | WCB | LCB | WC6 | WC9 | C5 |
闸板Wedge | CF8 | CF3 | CF8M | CF3M | WCB | LCB | WC6 | WC9 | C5 |
阀杆Stem | F304 | F304L | F316 | F316L | 2CR13 | F304 | F304 | F304 | F304 |
阀杆螺母Stem Nut | 铝青铜Aluminium Bronze | ||||||||
填料Packing | PTFE/柔性石墨 | 石墨Graphite | |||||||
垫片Gasket | PTFE/金属缠绕垫 | 石墨Graphite | |||||||
压盖Gland | CF8 | CF3 | CF8M | CF3M | WCB | LCB | WC6 | WC9 | C5 |
螺栓Bolt | 不锈钢Stainless Steel | 35CrMoA | |||||||
螺母Nut | 不锈钢Stainless Steel | 45、35CrMoA | |||||||
手轮Handwheel | 铸钢Cast Steel | ||||||||
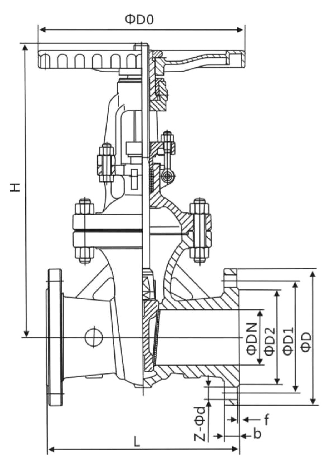
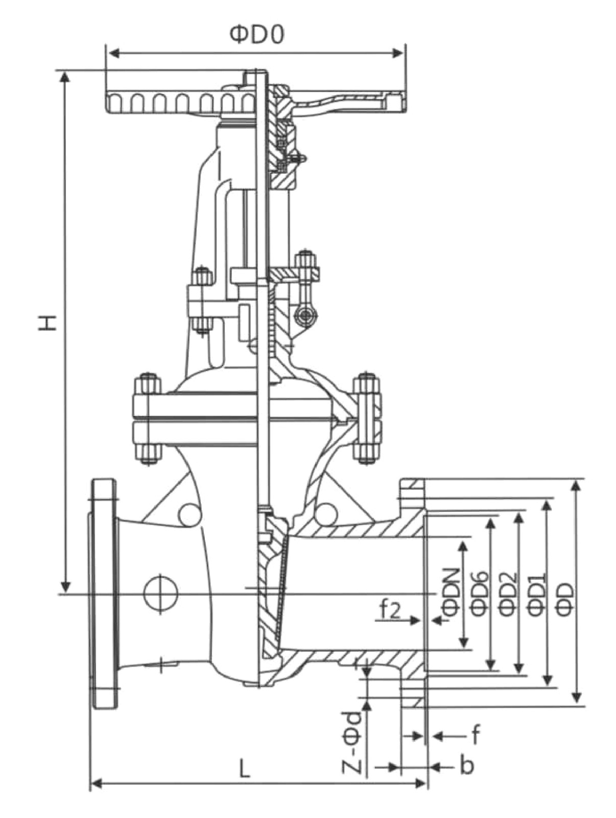
中压法兰连接手动闸阀 MEDIUM PRESSURE FLANGE TO MANUAL GATE VALVE
![]()


JB/T82.1-1994
主要外形尺寸及连接尺寸Main external and connection dimension JB/T79.1-1994
公称压力PN(MPa) | 公称通径DN(mm) | 尺寸Size(mm) | 重量(kg) | |||||||
L | D | D1 | D2 | b-f | Z-Φd | H | D0 | |||
1.0 | 15 | 130 | 95 | 65 | 45 | 12-2 | 4-φ14 | 160 | 100 | 5 |
20 | 150 | 105 | 75 | 55 | 14-2 | 4-φ14 | 165 | 100 | 8 | |
25 | 160 | 115 | 85 | 65 | 14-2 | 4-φ14 | 200 | 125 | 11 | |
32 | 180 | 135 | 100 | 78 | 16-2 | 4-φ18 | 240 | 125 | 13 | |
40 | 165 | 145 | 110 | 85 | 16-3 | 4-φ18 | 245 | 135 | 9.5 | |
50 | 180 | 160 | 125 | 100 | 16-3 | 4-φ18 | 286 | 180 | 24 | |
65 | 195 | 180 | 145 | 120 | 18-3 | 4-φ18 | 320 | 180 | 31 | |
80 | 210 | 195 | 160 | 135 | 18-3 | 4-φ18 | 373 | 200 | 40 | |
100 | 230 | 215 | 180 | 155 | 20-3 | 8-φ18 | 428 | 200 | 55 | |
125 | 255 | 245 | 210 | 185 | 22-3 | 8-φ18 | 513 | 240 | 63 | |
150 | 280 | 280 | 240 | 210 | 22-3 | 8-φ23 | 582 | 240 | 90 | |
200 | 330 | 335 | 295 | 265 | 22-3 | 8-φ23 | 730 | 320 | 145 | |
250 | 380 | 390 | 350 | 320 | 24-3 | 12-φ23 | 897 | 320 | 230 | |
300 | 420 | 440 | 400 | 368 | 26-4 | 12-φ23 | 1032 | 400 | 330 | |
350 | 450 | 500 | 460 | 428 | 26-4 | 16-φ23 | 1170 | 400 | 460 | |
400 | 480 | 565 | 515 | 482 | 26-4 | 16-φ25 | 1330 | 500 | 500 | |
450 | 510 | 615 | 565 | 532 | 26-4 | 20-φ25 | 1460 | 500 | 680 | |
500 | 540 | 670 | 620 | 585 | 28-4 | 20-φ25 | 1650 | 500 | 960 | |
600 | 600 | 780 | 725 | 685 | 28-5 | 20-φ30 | 183 | 600 | 1200 | |
700 | 660 | 895 | 840 | 800 | 30-5 | 24-φ30 | 2120 | 700 | 1620 | |
800 | 730 | 1010 | 950 | 905 | 32-5 | 24-φ34 | 2420 | 800 | 2090 | |
900 | 800 | 1110 | 1050 | 1005 | 34-5 | 28-φ34 | 2750 | 850 | 3100 | |
1000 | 850 | 1220 | 1160 | 1115 | 34-5 | 28-φ34 | 3130 | 900 | 4050 | |
1.6 | 15 | 130 | 95 | 65 | 45 | 14-2 | 4-φ14 | 170 | 120 | 5 |
20 | 150 | 105 | 75 | 55 | 14-2 | 4-φ14 | 190 | 140 | 6.5 | |
25 | 160 | 115 | 85 | 65 | 14-2 | 4-φ14 | 205 | 160 | 9 | |
32 | 180 | 135 | 100 | 78 | 16-2 | 4-φ18 | 270 | 180 | 12 | |
40 | 200 | 145 | 110 | 85 | 16-3 | 4-φ18 | 290 | 200 | 26.5 | |
50 | 250 | 160 | 125 | 100 | 16-3 | 4-φ18 | 310 | 240 | 29 | |
65 | 265 | 180 | 145 | 120 | 18-3 | 4-φ18 | 373 | 240 | 33 | |
80 | 280 | 195 | 160 | 135 | 20-3 | 8-φ18 | 435 | 280 | 45 | |
100 | 300 | 215 | 180 | 155 | 20-3 | 8-φ18 | 445 | 300 | 63 | |
125 | 325 | 245 | 210 | 185 | 22-3 | 8-φ18 | 570 | 320 | 108 | |
150 | 350 | 280 | 240 | 210 | 24-3 | 8-φ23 | 630 | 360 | 134 | |
200 | 400 | 335 | 295 | 265 | 26-3 | 12-φ23 | 735 | 400 | 192 | |
250 | 450 | 405 | 355 | 320 | 30-3 | 12-φ25 | 969 | 450 | 273 | |
300 | 500 | 460 | 410 | 375 | 30-4 | 12-φ25 | 976 | 580 | 379 | |
350 | 550 | 520 | 470 | 435 | 34-4 | 16-φ25 | 1120 | 640 | 500 | |
400 | 600 | 580 | 525 | 485 | 36-4 | 16-φ30 | 1452 | 640 | 540 | |
450 | 650 | 640 | 585 | 545 | 40-4 | 20-φ30 | 1541 | 720 | 870 | |
500 | 700 | 705 | 650 | 608 | 44-4 | 20-φ34 | 1880 | 720 | 1100 | |
600 | 800 | 840 | 770 | 718 | 48-5 | 20-φ36 | 1874 | 800 | 1570 | |
700 | 900 | 910 | 840 | 788 | 50-5 | 24-φ41 | 2083 | 800 | 1870 | |
800 | 1000 | 1020 | 950 | 898 | 52-5 | 24-中41 | 2400 | 850 | 2500 | |
900 | 1100 | 1120 | 1050 | 998 | 54-5 | 28-φ41 | 2950 | 1000 | 3620 | |
1000 | 1200 | 1255 | 1170 | 1110 | 56-5 | 28-φ48 | 3245 | 1000 | 4550 | |
主要外形尺寸及连接尺寸Main external and connection dimension JB/T79.1-1994
公称压力 | 公称通径 | 尺寸Size(mm) | 重量(kg) | |||||||
L | D | D1 | D2 | b-f | Z-Φd | H | D0 | |||
2.5 | 15 | 130 | 95 | 65 | 45 | 16-2 | 4-φ14 | 170 | 120 | 5.5 |
20 | 150 | 105 | 75 | 55 | 16-2 | 4-φ14 | 190 | 140 | 7 | |
25 | 160 | 115 | 85 | 65 | 16-2 | 4-φ14 | 205 | 160 | 11 | |
32 | 180 | 135 | 100 | 78 | 18-2 | 4-φ18 | 270 | 180 | 14 | |
40 | 200 | 145 | 110 | 85 | 18-3 | 4-φ18 | 310 | 200 | 20 | |
50 | 250 | 160 | 125 | 100 | 20-3 | 4-φ18 | 358 | 240 | 34 | |
65 | 265 | 180 | 145 | 120 | 22-3 | 8-φ18 | 373 | 240 | 36 | |
80 | 280 | 195 | 160 | 135 | 22-3 | 8-φ18 | 435 | 280 | 50 | |
100 | 300 | 230 | 190 | 160 | 24-3 | 8-φ23 | 500 | 300 | 69 | |
125 | 325 | 270 | 220 | 188 | 28-3 | 8-φ25 | 614 | 320 | 116 | |
150 | 350 | 300 | 250 | 218 | 30-3 | 8-φ25 | 674 | 360 | 141 | |
200 | 400 | 360 | 310 | 278 | 34-3 | 12-φ25 | 811 | 400 | 192 | |
250 | 450 | 425 | 370 | 332 | 36-3 | 12-φ30 | 969 | 450 | 207 | |
300 | 500 | 485 | 430 | 390 | 40-4 | 16-φ30 | 1145 | 580 | 350 | |
350 | 550 | 550 | 490 | 448 | 44-4 | 16-φ34 | 1280 | 640 | 560 | |
400 | 600 | 610 | 550 | 505 | 48-4 | 16-φ34 | 1452 | 640 | 650 | |
450 | 650 | 660 | 600 | 555 | 50-4 | 20-φ34 | 1541 | 720 | 910 | |
500 | 700 | 730 | 660 | 610 | 52-4 | 20-φ41 | 1676 | 720 | 1166 | |
600 | 800 | 840 | 770 | 718 | 56-5 | 20-φ41 | 1874 | 800 | 1650 | |
700 | 900 | 955 | 875 | 815 | 60-5 | 24-φ48 | 2083 | 800 | 1980 | |
800 | 1000 | 1070 | 990 | 930 | 64-5 | 24-φ48 | 2400 | 950 | 2740 | |
900 | 1100 | 1180 | 1090 | 1025 | 66-5 | 28-φ54 | 2950 | 1000 | 3900 | |
1000 | 1200 | 1305 | 1210 | 1140 | 68-5 | 28-φ58 | 3245 | 1000 | 4850 | |
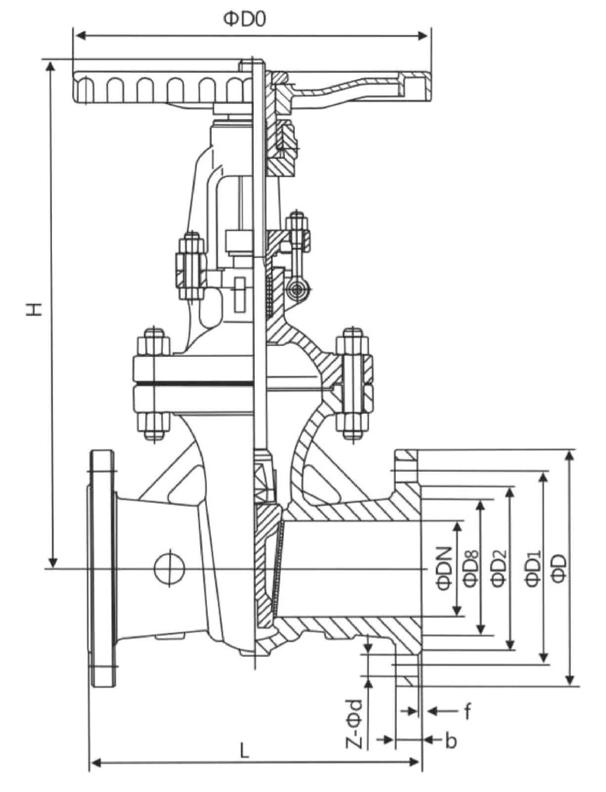
主要外形尺寸及连接尺寸Main external and connection dimension JB/T79.2-1994
公称压力 | 公称通径 | 尺寸Size(mm) | 重量 | |||||||||
L | D | D1 | D2 | D6 | b-f | f1 | Z-Φd | H | D0 | |||
4.0 | 15 | 130 | 95 | 65 | 45 | 40 | 16-2 | 4 | 4-14 | 135 | 120 | 6 |
20 | 150 | 105 | 75 | 55 | 51 | 16-2 | 4 | 4-14 | 190 | 140 | 8 | |
25 | 160 | 115 | 85 | 65 | 58 | 16-2 | 4 | 4-14 | 205 | 160 | 12 | |
32 | 180 | 135 | 100 | 78 | 66 | 18-2 | 4 | 4-18 | 270 | 180 | 15 | |
40 | 200 | 145 | 110 | 85 | 76 | 18-3 | 4 | 4-18 | 310 | 200 | 31 | |
50 | 250 | 160 | 125 | 100 | 88 | 20-3 | 4 | 4-18 | 371 | 280 | 34 | |
65 | 280 | 180 | 145 | 120 | 110 | 22-3 | 4 | 8-18 | 391 | 280 | 39 | |
80 | 310 | 195 | 160 | 135 | 121 | 22-3 | 4 | 8-18 | 455 | 320 | 52 | |
100 | 350 | 230 | 190 | 160 | 150 | 24-3 | 4.5 | 8-23 | 551 | 360 | 80 | |
125 | 400 | 270 | 220 | 188 | 176 | 28-3 | 4.5 | 8-25 | 628 | 400 | 127 | |
150 | 450 | 300 | 250 | 218 | 204 | 30-3 | 4.5 | 8-25 | 708 | 400 | 154 | |
200 | 550 | 375 | 320 | 282 | 260 | 38-3 | 4.5 | 12-30 | 885 | 450 | 263 | |
250 | 650 | 445 | 385 | 345 | 313 | 42-3 | 4.5 | 12-34 | 906 | 560 | 368 | |
300 | 750 | 510 | 450 | 408 | 364 | 46-4 | 4.5 | 16-34 | 1203 | 640 | 547 | |
350 | 850 | 570 | 510 | 465 | 422 | 52-4 | 5 | 16-34 | 1341 | 640 | 679 | |
400 | 950 | 655 | 585 | 535 | 474 | 58-4 | 5 | 16-41 | 1492 | 720 | 953 | |
500 | 1150 | 755 | 670 | 612 | 576 | 62-4 | 5 | 20-48 | 1627 | / | 1073 | |
600 | 1350 | 890 | 795 | 730 | 678 | 62-5 | 6 | 20-54 | 1925 | / | 1490 | |
700 | 1450 | 995 | 900 | 835 | 768 | 68-5 | 6 | 24-54 | 2310 | / | 2640 | |
800 | 1650 | 1135 | 1030 | 960 | 876 | 76-5 | 6 | 24-58 | 2600 | / | 3239 | |
6.3 | 15 | 170 | 105 | 75 | 55 | 40 | 18-2 | 4 | 4-14 | 140 | 100 | 7 |
20 | 190 | 125 | 90 | 68 | 51 | 20-2 | 4 | 4-18 | 140 | 100 | 9 | |
25 | 210 | 135 | 100 | 78 | 58 | 22-2 | 4 | 4-18 | 215 | 180 | 12 | |
32 | 230 | 150 | 110 | 82 | 66 | 24-2 | 4 | 4-23 | 270 | 180 | 16 | |
40 | 240 | 165 | 125 | 95 | 76 | 24-3 | 4 | 4-23 | 345 | 200 | 32 | |
50 | 250 | 175 | 135 | 105 | 88 | 26-3 | 4 | 4-23 | 470 | 200 | 39 | |
65 | 280 | 200 | 160 | 130 | 110 | 28-3 | 4 | 8-23 | 520 | 250 | 43 | |
80 | 310 | 210 | 170 | 140 | 121 | 30-3 | 4.5 | 8-23 | 570 | 300 | 60 | |
100 | 350 | 250 | 200 | 168 | 150 | 32-3 | 4.5 | 8-25 | 700 | 300 | 89 | |
125 | 400 | 295 | 240 | 202 | 176 | 36-3 | 4.5 | 8-30 | 780 | 350 | 140 | |
150 | 450 | 340 | 280 | 240 | 204 | 38-3 | 4.5 | 8-34 | 850 | 350 | 207 | |
200 | 550 | 405 | 345 | 300 | 260 | 44-3 | 4.5 | 12-34 | 1035 | 400 | 325 | |
250 | 650 | 470 | 400 | 352 | 313 | 48-3 | 4.5 | 12-41 | 1050 | 560 | 467 | |
300 | 750 | 530 | 460 | 412 | 364 | 54-4 | 4.5 | 16-41 | 1470 | 640 | 590 | |
350 | 850 | 595 | 525 | 475 | 422 | 60-4 | 5 | 16-41 | 1718 | 700 | 773 | |
400 | 950 | 670 | 585 | 525 | 474 | 66-4 | 5 | 16-48 | 1885 | 750 | 1050 | |
500 | 1150 | 800 | 705 | 640 | 576 | 70-4 | 5 | 20-54 | 2410 | 850 | 1775 | |
600 | 1350 | 930 | 820 | 750 | 678 | 76-5 | 6 | 20-58 | 2895 | 1000 | 2960 | |
高压法兰连接手动闸阀 HIGH PRESSURE FLANGE CONNECTED WTH MANUAL GATEVALVE
![]()

JB/T79.2-1994
主要外形尺寸及连接尺寸Main external and connection dimension JB/T79.4-1994
公称压力PN(MPa) | 公称通径DN(mm) | 尺寸Size(mm) | 重量 (kg) | |||||||||
L | D | D1 | D2 | D8 | D6 | b | Z-Φd | H | D0 | |||
10.0 | 15 | 170 | 105 | 75 | 55 | 35 | 40 | 20 | 4-14 | 140 | 120 | 6.5 |
20 | 190 | 125 | 90 | 68 | 45 | 51 | 22 | 4-18 | 140 | 120 | 9 | |
25 | 210 | 135 | 100 | 78 | 50 | 58 | 24 | 4-18 | 310 | 200 | 13 | |
32 | 230 | 150 | 110 | 82 | 65 | 66 | 24 | 4-23 | 320 | 220 | 20 | |
40 | 240 | 165 | 125 | 95 | 75 | 76 | 26 | 4-23 | 360 | 240 | 60 | |
50 | 250 | 195 | 145 | 112 | 85 | 88 | 28 | 4-25 | 490 | 360 | 50 | |
65 | 280 | 220 | 170 | 138 | 110 | 110 | 32 | 8-25 | 540 | 400 | 70 | |
80 | 310 | 230 | 180 | 148 | 115 | 121 | 34 | 8-25 | 572 | 400 | 100 | |
100 | 350 | 265 | 210 | 172 | 145 | 150 | 38 | 8-30 | 573 | 400 | 110 | |
125 | 400 | 310 | 250 | 210 | 175 | 176 | 42 | 8-34 | 744 | 560 | 180 | |
150 | 450 | 350 | 290 | 250 | 205 | 204 | 46 | 12-34 | 800 | 560 | 250 | |
200 | 550 | 430 | 360 | 312 | 265 | 260 | 54 | 12-41 | 800 | 560 | 360 | |
250 | 650 | 500 | 430 | 382 | 320 | 313 | 60 | 12-41 | 1050 | 640 | 560 | |
300 | 750 | 585 | 500 | 442 | 375 | 364 | 70 | 16-48 | 1200 | 720 | 795 | |
350 | 850 | 655 | 560 | 498 | 420 | 422 | 76 | 16-54 | 1430 | 800 | 1155 | |
400 | 950 | 715 | 620 | 558 | 480 | 474 | 80 | 16-54 | 1743 | 850 | 1370 | |
500 | 1150 | 815 | 724 | 635 | 584 | 576 | 89 | 24-54 | 2055 | 900 | 1785 | |
16.0 | 15 | 170 | 110 | 75 | 52 | 35 | 40 | 24 | 4-18 | 230 | 200 | 7 |
20 | 190 | 130 | 90 | 62 | 45 | 51 | 26 | 4-23 | 260 | 200 | 10 | |
25 | 210 | 140 | 100 | 72 | 50 | 58 | 28 | 4-23 | 280 | 280 | 14 | |
32 | 230 | 165 | 115 | 85 | 65 | 66 | 30 | 4-25 | 312 | 320 | 21 | |
40 | 260 | 175 | 125 | 92 | 75 | 76 | 32 | 4-27 | 350 | 320 | 26 | |
50 | 300 | 215 | 165 | 132 | 95 | 88 | 36 | 8-25 | 512 | 360 | 73 | |
65 | 340 | 245 | 190 | 152 | 110 | 110 | 44 | 8-30 | 560 | 360 | 110 | |
80 | 390 | 260 | 205 | 168 | 130 | 121 | 46 | 8-30 | 585 | 400 | 141 | |
100 | 450 | 300 | 240 | 200 | 160 | 150 | 48 | 8-34 | 631 | 450 | 185 | |
125 | 525 | 355 | 285 | 238 | 190 | 176 | 60 | 8-41 | 723 | 560 | 320 | |
150 | 600 | 390 | 318 | 270 | 205 | 204 | 66 | 12-41 | 820 | 640 | 462 | |
200 | 750 | 480 | 400 | 345 | 275 | 260 | 78 | 12-48 | 990 | 720 | 711 | |
250 | 838 | 580 | 485 | 425 | 330 | 313 | 88 | 12-54 | 1120 | 800 | 1010 | |
300 | 965 | 665 | 570 | 510 | 380 | 364 | 100 | 16-54 | 1300 | 850 | 1430 | |